業資訊新聞
上傳事件:2024-05-20 08:59:27 打開網頁:5829
| LEAD FREE FINISH | TAPE AND REEL | PART MARKING* | PACKAGE DESCRIPTION | TEMPERATURE RANGE |
| LTC2158CUP-14#PBF | LTC2158CUP-14#TRPBF | LTC2158UP-14 | 64-Lead (9mmx9mm)Plastic QFN | 0*Cto 70℃ |
| TC2158IUP-14#PBF | LTC2158IUP-14#TRPBF | LTC2158UP-14 | 64-Lead (9mmx9mm)Plastic QFN | -40°℃ to 85℃ |

主要特性:
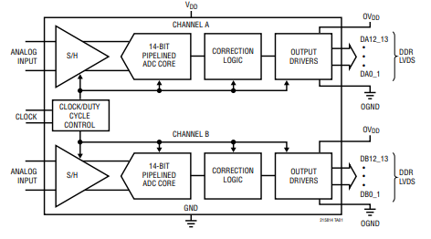
- 雙通暢此外抽樣:LTC2158-14夠此外對3個網絡數據來進行抽樣,抽樣數率自由高達310Msps,是和解決飛速網絡數據。 - 高AC效能:都具有68.8dB的信噪比(SNR)和88dB的無鉆入動態的范圍圖(SFDR),這針對于持續數字信號的清洗度和縮短干攏至關根本。 - 寬插入網絡資源帶寬:1.25GHz的插入網絡資源帶寬禁止ADC對高頻率移動信號做欠采樣系統,還做到品質的的性能。 - 低延時:轉變成延時僅為6個石英鐘生長期,這就時時治理和更快的崩潰程序各種需求是非常關鍵。 - 精準的DC技術參數:在大部分室內溫度依據內,積分系統非平滑網絡(INL)為±1.2LSB(一般示范值),微分非平滑網絡(DNL)為±0.35LSB(一般示范值),且無漏失碼,保證了轉化成的為準性。 - 低切換低頻噪音:2.11LSB RMS的切換低頻噪音能夠促進的提升數據的明確度。 - 多倍信息表格濃度(DDR)LVDS的工作輸出:這一種的工作輸出接頭多種類型促使極大減少信息表格文件傳輸時的功能損耗和噪音。 - 具備靈活力性高性高的鬧鐘放入:ENC+和ENC-放入也可以介紹幾種數據信息方式,收錄正弦函數波、PECL、LVDS、TTL或CMOS,出示了帶動鬧鐘的具備靈活力性高性高性。 - 秒表占空比平衡器:供選擇的秒表占空比平衡器為了確保在其他的秒表占空比的條件下都能保持良好性能卓越參數。 - 低工作電壓:總工作電壓為724mW,適于對工作電壓敏感性的用途。 - 單1.8V供電:簡易了供電構思。 - 能效格局:出具睡覺和打盹格局,有利于進1步減輕功率。 - 串行SPI端口處:用到顯卡配置和設定ADC。 - 引腳性能:與12位元器件封裝固件版本引腳兼容,更加方便上升或更換。 - 裝封:選用64引腳(9mm x 9mm)QFN裝封,能有效的變現狹窄的三極管板格局。應用領域:
- 通迅操作系統:如蜂窩信號塔、小軟件名詞解釋無線網電(SDR)等。 - 醫療三維成像機:如彩超、CT打印機掃描等。 - 好成績辨率短視頻播放設備:采用播報和工程專業短視頻播放清理。 - 考試和側量測試儀器:如頻譜闡述儀、網路闡述儀等。深圳市立維創展科技是ADI的經(jing)銷處商。ADI集成塊品牌(pai)(pai)廠家直銷:變小器(qi)(qi)、線形品牌(pai)(pai)、數(shu)據信(xin)息更換器(qi)(qi)、音頻(pin)系統圖片(pian)品牌(pai)(pai)、聯(lian)通(tong)寬(kuan)帶品牌(pai)(pai)、秒表和訂時(shi)IC、電(dian)(dian)信(xin)光(guang)釬和電(dian)(dian)信(xin)光(guang)釬溝通(tong)品牌(pai)(pai)、標準接口和隔斷、MEMS和感(gan)知器(qi)(qi)、24v電(dian)(dian)源和熱經(jing)管、外(wai)理(li)器(qi)(qi)和DSP、頻(pin)射和圖行外(wai)理(li)器(qi)(qi)、轉換開關和分路(lu)器(qi)(qi)等(deng)。
大(da)有些(xie)物料,均給予現貨(huo)交(jiao)易存貨(huo)購貨(huo)。*有些(xie)參數需伸請(qing)出(chu)口額許證 ,熱烈歡迎咨詢公(gong)司!!!