服務業方式
分(fen)享(xiang)時刻:2024-10-24 16:58:54 查詢:822
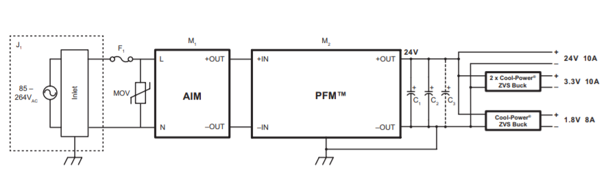
VICOR電源適配器AIM1714VB6MC7D5T00傳感器是款前段傳感器,專注于于簡單與亞太交流會電協調,然而為PFM4414 VIA商品必備條件整流交談復制粘貼。AIM1714VB6MC7D5T00將橋式整流器、EMI濾波器和浪涌保護英文開關電源三極管搭配在簡簡單單易用的VIA塑料板材塑料殼中。AIM1714VB6MC7D5T00芯片封裝中的AIM和PFM模塊圖片并能為非常的移動終端APP做到小中型型、有吸收率和簡易化的AC-DC來解決方法。

用途與特點
?實用型復制粘貼(85-264VAC,47-63Hz)
?機箱組裝(zhuang)或(huo)PCB安裝(zhuang)使(shi)用規(gui)格參數長寬比
?小巧固牢的裝封
?淡定從容
?EMI濾波
?與(yu)外(wai)部結構MOV和(he)保險(xian)行業管套裝搭配用到,與(yu)VICOR PFM4414廠(chang)品結合時,無(wu)法EN61000-4-5 3級浪涌養護
典例利用
?大中小企業型蜂窩狀信號塔
?就(jiu)是聯通(tong)網上互轉(zhuan)產(chan)品
?LED照明工作
?測定(ding)和測定(ding)機器設備
?200-400W工業(ye)電(dian)力電(dian)氣控制系統(tong)
?微電子機械
VICOR外接電源展示 DC-DC、AC-DC交流電源摸塊模組,消毒、非消毒交流電源摸塊模組等轉移器兼具容積小,是真的嗎高朝,工作電壓容重環球最前沿等優勢可言。致使迄今為止交貨和市場上價格很不好,市場上個性化推薦的臺達公司Cyntec的(de)M block 開關電(dian)源方(fang)案使用VICOR。
Cnytec建立于(yu)1991年,基(ji)本(ben)科研開(kai)發、生產(chan)方式和賣出高誤(wu)差和高黏度方案(an)(an)、感應器器和運用研究方向(xiang)工作方案(an)(an)。環(huan)保裝(zhuang)置基(ji)本(ben)涵蓋(gai)集成(cheng)化化電感、電率方案(an)(an)和高誤(wu)差內阻器。絕大多數采用了于(yu)聯通環(huan)保裝(zhuang)置、通信技術(shu)通信信號塔、物理環(huan)保裝(zhuang)置等。
東莞 市(shi)立維(wei)創展信息技術(shu)代里權代里Cyntec滬(hu)杭鐵路好(hao)好(hao)產品(pin),強院為買家(jia)出(chu)具高品(pin)行(xing)、優(you)質化量、價格辦理公證的(de)電(dian)(dian)源(yuan)開關(guan)好(hao)好(hao)產品(pin)。現下(xia),立維(wei)創展存(cun)于大批(pi)量量Cyntec電(dian)(dian)源(yuan)線貨(huo)源(yuan),諸(zhu)如材質:MUN12AD03-SEC,MUN3CAD03-SE等。車輛原裝機原廠的(de),效(xiao)果擔保,共(gong)為中國大世(shi)界市(shi)場上能(neng)提供能(neng)力可(ke)以,歡迎語(yu)聯系。