行業領域咨詢
更新(xin)的(de)時間:2024-11-27 17:02:53 瀏覽器:653
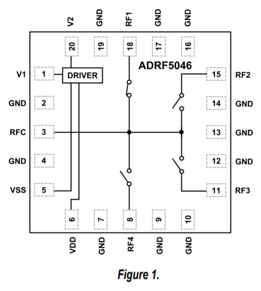
ADRF5046是種建議選用硅加工開發的反射層式單極四擲(SP4T)按鈕開關。平率依據為100 MHz至44 GHz,加上損耗量超過3.0 dB,隔離防曬度更高于31 dB。ADRF5046具備條件27dBm的頻射(RF)讀取馬力的數據處置性能,重點適用于RFC管腳的直通式相對路徑和流延換。
ADRF5046在+3.3 V的(de)正外接電源上(shang)(shang)費時(shi)3μa的(de)低直流電壓,在-3.3 V的(de)負電上(shang)(shang)用于-110μa的(de)工作電流。ADRF5046出(chu)示專一性(xing)性(xing)輕金屬(shu)硫化物半(ban)導體芯片(CMOS)/壓差大結晶(jing)管思(si)維模式(LVTTL)兼容(rong)的(de)調節。
ADRF5046選(xuan)擇20接線(xian)柱絕緣端子、3 mm×3 mm、考慮RoHS規(gui)范標準(zhun)的焊層柵格(ge)陣列(LGA)裝封,可在-40°C至(zhi)+105°C的溫暖空間內(nei)作業。

特點
?加寬視品率范圍內:100 MHz至44 GHz
?折射光構思
?添加耗用低
?1.5 dB至(zhi)18 GHz
?2.5 dB至40 GHz
?3.0 dB至44 GHz
?高丟開
?46 dB至18 GHz
?33 dB至40 GHz
?31 dB至44 GHz
?手機輸(shu)入(ru)曲線度(du)較高
?P0.1dB:27.5 dBm常見值(zhi)
?IP3:50 dBm先進典型值
?高頻射放入(ru)電(dian)機(ji)功率(lv)操(cao)作
?直通車火車線路:27 dBm
?全(quan)自動制(zhi)袋(dai)機(ji)換(huan)(RFC):27 dBm
?無低頻雜散
?0.1 dB微波(bo)射(she)頻點焊(han)時段(duan):50 ns
?20接線方法接線鼻子,3mm×3mm,滿意RoHS的標準,LGA裝封
技術應用
?工業化的掃面器
?測量裝備
?蜂窩狀(zhuang)基礎理(li)論(lun)設(she)施管理(li)毫米(mi)左右波5G
?軍工概念股(gu)用(yong)無限網(wang)絡電力、雷達天線和網(wang)絡電力戰勝(sheng)預案(an)(ECM)
?紅外(wai)光wifi手(shou)機微(wei)波通信和甚小洞徑POS機終端(VSAT)
廣州(zhou)市立維創展信(xin)息(xi)技術是ADI的代(dai)銷商,主耍供應信(xin)息(xi)變小器(qi)、規則化(hua)設備(bei)、數據信(xin)息(xi)轉為器(qi)、音頻圖片設備(bei)、帶寬設備(bei)、石英鐘和(he)(he)(he)要定期(qi)IC、電信(xin)光纖無線通信(xin)軟件、標準接口和(he)(he)(he)隔斷、MEMS和(he)(he)(he)傳(chuan)調(diao)節器(qi)器(qi)、電源適配器(qi)和(he)(he)(he)熱經管、整理器(qi)和(he)(he)(he)DSP、rf射(she)頻和(he)(he)(he)圖像(xiang)整理器(qi)、旋鈕和(he)(he)(he)分配比(bi)例(li)器(qi)等。大個部分車輛,均供應外盤庫(ku)存商品供貨周期(qi)。