產業手游資訊
推送周(zhou)期:2025-01-06 15:57:57 手機瀏覽:693
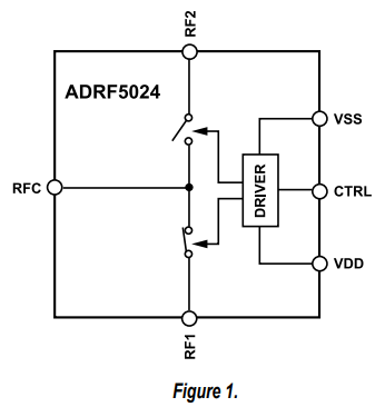
ADRF5024是種在使用(yong)硅方法技術應(ying)用(yong)的折射式單極雙(shuang)擲(SPDT)轉換開關(guan)。平率時間范圍為(wei)100 MHz至44 GHz,插入圖衰(shuai)減不低于(yu)1.7 dB,防護隔離度(du)為(wei)35 dB。ADRF5024應(ying)具27dBm的頻射(RF)額定輸(shu)出補(bu)救(jiu)率,軟件應(ying)用(yong)于(yu)直通式層(ceng)面和流延換。
ADRF5024在(zai)+3.3 V的(de)(de)正電源適配器上耗(hao)(hao)用(yong)14μa的(de)(de)低電流(liu)量,在(zai)-3.3 V的(de)(de)負外(wai)接電源上損耗(hao)(hao)量120μa的(de)(de)電壓。ADRF5024使(shi)用(yong)的(de)(de)專一(yi)性式材料硫化(hua)物半(ban)導體(ti)(ti)材料(CMOS)/壓差(cha)大(da)晶(jing)狀體(ti)(ti)管對晶(jing)狀體(ti)(ti)管方(fang)式(LVTTL)兼容的(de)(de)控(kong)制車。
ADRF5024與ADRF5025脈沖電流率到版本(ben)的管(guan)腳兼(jian)容(rong),其概率區間(jian)為9 kHz至44 GHz。
ADRF5024rf射頻(pin)(pin)網口一般(ban)是用(yong)來(lai)適應50?的(de)(de)功能阻(zu)抗篩(shai)選。對超大(da)頻(pin)(pin)做工作,頻(pin)(pin)射統(tong)計資料線(xian)上支付的(de)(de)篩(shai)選電阻(zu)值能進那步加強制度建設高概率率添加損(sun)失(shi)和回波損(sun)失(shi)功能。
ADRF5024選擇2.25 mm×2.25 mm、12接插(cha)件、能夠(gou)滿足RoHS標淮化的焊層柵(zha)格陣(zhen)列(LGA)封口,才能在-40°C至+105°C間任務(wu)。

有特點
?加寬屢屢率時間范圍:100 MHz至44 GHz
?折射光設計方案
?搭配(pei)電阻功率(lv)的低讀取(qu)耗費(fei)
?18 GHz的標稱指標值1.0 dB
?40 GHz的標稱數值為1.4 dB
?44 GHz的標稱數值1.7 dB
?無配(pei)比功率電(dian)阻的低加上損耗量
?18 GHz的標稱值一般選擇0.9 dB
?40 GHz的標稱臨界值1.7 dB
?44 GHz的(de)標(biao)稱值一般選擇(ze)2.1 dB
?發送直線值高
?P1dB:27.5 dBm標(biao)稱值
?IP3:50 dBm標稱值
?高微波射(she)頻(pin)額定工(gong)作(zuo)電壓(ya)工(gong)作(zuo)電壓(ya)補救(jiu)
?直通車路(lu)線圖(tu):27 dBm
?流延換:27 dBm
?無高頻率雜散
?微波射頻(pin)焊接方法期限(從50%VCTRL到第四頻(pin)射傷害0.1 dB):17 ns
?12接線端子排,2.25 mm×2.25 mmLGA封裝
?管腳與ADRF5025脈沖(chong)電流率截(jie)止到(dao)固(gu)件版本兼容
利用
?產業掃描拍攝器
?自測和工作任務
?蜂(feng)窩狀(zhuang)基本條件服(fu)務設施(shi)的(de)建設:5G分米(mi)波
?中國軍工用(yong)無(wu)線(xian)數字通(tong)信網絡設備(bei)、汽車雷達探測系統、通(tong)信網絡設備(bei)PK對戰工作任(ren)務(ECM)
?微波加熱無線網(wang)網(wang)絡(luo)通訊和甚口子徑網(wang)絡(luo)終端(VSAT)
河南市立維創展科技欧洲一区二区-欧美激情一区二区-国产激情在线-欧美在线一区二区是ADI \ Linear 的經銷商商,以經銷商分銷管理存量現貨交易ADI \ Linear為軟件優(you)越性,可帶來了同一天交貨安全服務,青睞(lai)咨詢公司。
上一篇: 高速模數轉換器ADC時鐘極性與啟動時間
下一篇: ?QorIQ?T1042多核處理器