領域資訊新聞
上架時候:2025-04-30 16:34:13 搜索:437
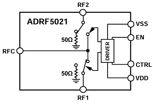
ADRF5021是種應(ying)運硅加(jia)工(gong)過程的技術的適(shi)(shi)用型(xing)單(dan)極雙擲(SPDT)打開。適(shi)(shi)用了3mm×3mm、20端子排的焊層柵(zha)格(ge)陣列(lie)(LGA)裝封,在9 kHz至30 GHz標(biao)準(zhun)內出示享(xiang)有(you)高要(yao)進行(xing)隔離和(he)低進到這(zhe)一領域不足。ADRF5021需在+3.3 V和(he)-2.5 V的雙外接電(dian)源電(dian)流(liu)值,如果提供了CMOS/LVTTL語言表達性兼容調節。

優點
寬(kuan)度屢屢率(lv)範(fan)圍:9 kHz至30 GHz
非漫反射50Ω設計構(gou)思
低(di)插(cha)入圖(tu)耗損率:2.0 dB至30 GHz
高消毒度:60 dB至30 GHz
高讀取曲線度
1 dB額定功率減(jian)少(P1dB):具代表性值一般選擇28 dBm
三階截距(IP3):典(dian)例指標值52 dBm
高耗油率外理
采用配(pei)電線路24 dBm
24 dBm端接線柱路
ESD敏感性(xing):1級,1 kV中國女模三維模型(HBM)
20接線鼻子,3mm×3mm大陸(lu)架柵格陣列封口
無脈沖直流(liu)電諧(xie)波直流(liu)電
微波射頻(RF)安(an)穩日期(POS機終(zhong)端RF輸出電壓的0.1 dB):6.2μs
使用
測試英文機
徽波wifi手機微波通信和(he)甚小洞徑設備
航天(tian)軍(jun)工用無線(xian)wifi微(wei)(wei)波通信網、雷達天(tian)線(xian)偵測、微(wei)(wei)波通信網打敗(bai)保(bao)障(zhang)措施(ECM)
光纖寬帶(dai)聯(lian)通網絡(luo)操作(zuo)流程系統(tong)
成都 市立維創展科學技術是ADI的代理商商,通(tong)常給予(yu)放縮器(qi)、規則化廠品(pin)(pin)、信息轉型器(qi)、音短(duan)視頻廠品(pin)(pin)、寬(kuan)帶網廠品(pin)(pin)、秒表和要定期IC、金屬微(wei)波通(tong)信車(che)輛、接(jie)頭和接(jie)連(lian)、MEMS和感知器(qi)、電原和熱經管、工作器(qi)和DSP、微(wei)波射頻和多邊形處置器(qi)、觸點(dian)開(kai)關和計算器(qi)等,產品(pin)(pin)正品(pin)(pin)現貨黃(huang)金,定價好處,喜歡咨(zi)訊。
上一篇: 高速模數轉換器ADC時鐘極性與啟動時間