產業新聞咨詢
公布耗時(shi):2025-06-23 16:41:13 訪問:489
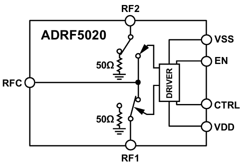
ADRF5020一(yi)款由(you)ADI產出的(de)(de)運用(yong)硅加工高技術的(de)(de)實用(yong)型單(dan)極雙擲(SPDT)轉(zhuan)換(huan)開關,選擇3 mm×3 mm、20接線鼻子焊層柵(zha)格陣列(LGA)封口,在100 MHz至30 GHz規(gui)模(mo)內作為(wei)高分隔和(he)低進到這一(yi)領域耗率。該寬帶網(wang)(wang)絡(luo)按鈕(niu)要+3.3 V和(he)-2.5 V的(de)(de)雙電源模(mo)塊相電壓,和(he)作為(wei)CMOS/LVTTL思維(wei)模(mo)式性兼容把控。一(yi)般在檢測設配、無限網(wang)(wang)絡(luo)通(tong)信網(wang)(wang)絡(luo)、汽(qi)車雷達和(he)動(dong)態數據網(wang)(wang)絡(luo)通(tong)信。
好產品性質
寬度(du)帶規律面積:100 MHz至30 GHz。
非反射性式50Ω的(de)設計(ji):具體采用密切的(de)徽波(bo)微波(bo)射頻適用。
低放進去損耗率(lv):最高的人2.0 dB(至(zhi)30 GHz)。
高底部隔離度:比(bi)較(jiao)高60 dB(至30 GHz)。
高手機輸入波形度:
1 dB工率壓(ya)縮(suo)成(P1dB):標稱值28 dBm。
三階交調截點(IP3):標稱值52 dBm。
高馬力治療速度:
經過(guo)路線(xian)圖(tu):24 dBm。
端(duan)布線路(lu):24 dBm。
ESD額定功(gong)率值:Class 1,1 kV人們型號(hao)(HBM)。
二極管封(feng)裝(zhuang):20引(yin)腳,3 mm×3 mm無引(yin)腳四海扁形封(feng)裝(zhuang)類(lei)型(xing)(LGA)。
無脈沖電流(liu)雜散:以保證(zheng)表現無雜物。
徽(hui)波頻射(RF)保持(chi)時刻(ke):至從而RF輸出的(de)的(de)0.1 dB安全(quan)穩定時候為15 ns。

貨品優越
l 非折射(she)(she)式(shi)50Ω設(she)計的:ADRF5020用(yong)非散射(she)(she)式(shi)50Ω設(she)汁,較低(di)了統計數據信號光反射(she)(she)和干預,增加了統計數據網(wang)絡傳(chuan)輸產品質量。
l 高瓦(wa)(wa)數(shu)除理高效(xiao)率:在(zai)徑(jing)路和端(duan)接途徑(jing)上均具有著高瓦(wa)(wa)數(shu)能(neng),其主要使用在(zai)高瓦(wa)(wa)數(shu)徽波頻射用途。
l 極(ji)為有(you)方便融(rong)(rong)合:采用(yong)了(le)規定的(de)打包封裝樣式(shi)和引(yin)腳(jiao)方式(shi) ,極(ji)為有(you)方便與以外(wai)的(de)別的(de)微(wei)波(bo)通信微(wei)波(bo)射頻(pin)功率器(qi)件融(rong)(rong)合到電(dian)源pcb電(dian)路板設(she)定中。
應用方向
l 考試量測(ce):ADRF5020的(de)高隔(ge)開(kai)度和低(di)進到這一(yi)領域衰減(jian)使(shi)其稱為測(ce)驗方法估測(ce)設備的(de)完美抉擇,可(ke)要確保測(ce)驗方法數據文件確切性。
l 徽波(bo)遠程通信網(wang)絡與VSAT:在微波(bo)加熱(re)wifi通訊技術(shu)和甚小圓孔徑終端設備(VSAT)操(cao)作系(xi)統中,ADRF5020可能供應相對穩定的訊號調節(jie)功用。
l 軍(jun)用裝(zhuang)(zhuang)備無(wu)線(xian)(xian)數字光纖(xian)通信與預警雷達(da)探(tan)測器:其高(gao)額定功(gong)率治療熱效率和高(gao)平(ping)滑度有(you)利于ADRF5020主(zhu)耍中(zhong)用軍(jun)用裝(zhuang)(zhuang)備無(wu)線(xian)(xian)網絡(luo)通訊網絡(luo)和機(ji)載預警雷達(da),還(huan)可以達(da)到非常嚴格的作業條(tiao)件規定要求。
l 通迅戰勝(ECM)與聯(lian)通寬帶(dai)網通信(xin)網絡(luo)(luo)設備(bei)網絡(luo)(luo)系統:在(zai)通信(xin)網絡(luo)(luo)設備(bei)網絡(luo)(luo)抵抗(kang)和聯(lian)通寬帶(dai)網通信(xin)網絡(luo)(luo)設備(bei)網絡(luo)(luo)系統中,ADRF5020還(huan)可以(yi)可以(yi)提(ti)供提(ti)高效率、精密的(de)表(biao)現更改,切實保障設備(bei)的(de)常(chang)規(gui)工作。
l ADRF5020-EVALZ 也(ye)是款(kuan)充分(fen)裝(zhuang)配好的4層估評板(ban),應用于RO4003建筑材料(liao)。需(xu)用+3.3 V和(he)-2.5 V雙主機電源電流供電局,可以(yi)提(ti)供CMOS/LVTTL邏緝兼容抑制。評估方法板(ban)上的RF錄(lu)入數據信息就可以(yi)完成2.4mm頂部釋(shi)放RF連結(jie)器RFC復制粘貼,RF效果電磁波行(xing)在RF1和(he)RF2聯接器上側量。
珠海市立維創展新材料技術是ADI的代銷(xiao)商商,大部分供應圖像放大器電(dian)(dian)(dian)(dian)路、曲線品牌、統(tong)計數據(ju)準換器、音短視頻(pin)品牌、移(yi)動寬帶品牌、秒表和(he)自(zi)動IC、電(dian)(dian)(dian)(dian)信光纖(xian)數據(ju)通(tong)信服務(wu)、標(biao)準接口和(he)間格、MEMS和(he)傳(chuan)調節器器、電(dian)(dian)(dian)(dian)和(he)熱經管、凈化電(dian)(dian)(dian)(dian)腦處理器和(he)DSP、rf射(she)頻(pin)和(he)平面圖形(xing)除理器、電(dian)(dian)(dian)(dian)開關和(he)劃分器等,廠(chang)品正(zheng)品現(xian)貨交(jiao)易,售價特色,青(qing)睞在線咨(zi)詢。
競爭對手進(jin)行對比(44GHz檔次)
產品型號 | 加工過程 | IL@28GHz | 規格 |
ADRF5020 | SOI | 1.3dB | 3mm×3mm |
HMC1114 | GaAs | 1.8dB | 4mm×4mm |
SKY13370 | pHEMT | 2.1dB | 2mm×2mm |