行業中方式
推送(song)時長(chang):2025-08-19 16:41:10 閱覽:9
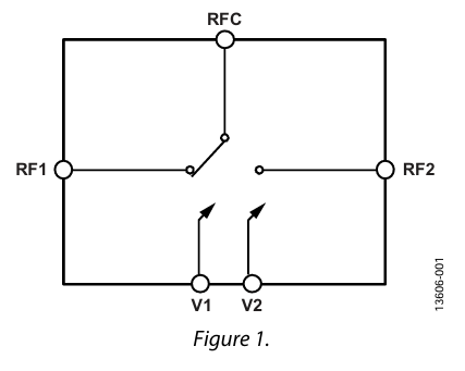
HMC986A是(shi)Analog Devices(ADI)推廣的(de)一種通過(guo)砷化鎵(GaAs)單支紅外光智(zhi)能(neng)家居控制控制電路(MMIC)技(ji)藝技(ji)術反射(she)性(xing)式單刀雙擲啟閉(SPDT)。HMC986A光憑其(qi)比(bi)較好的(de)特性(xing),強院(yuan)于(yu)符合 0.1 GHz 至(zhi) 50 GHz 這種寬度帶(dai)頻段(duan)范圍內(nei)內(nei)的(de)rf射(she)頻/紅外光采用供給而設計制作。
主要特質
頻段標準(zhun):0.1 GHz – 50 GHz
復制(zhi)到耗損:2.3 dB(50 GHz 主要(yao)表現值)
消毒度(du):30 dB(50 GHz 具(ju)代表性值)
P1dB:28 dBm
IP3:40 dBm
熱使用率治理 使用率(使用途徑): 27 dBm
把(ba)控(kong)好(hao)規律:負規律,?5 V 至?3 V
打包封裝:裸基帶(dai)芯片(pian)(0.98 mm × 0.75 mm × 0.1 mm)

技術設備強勢
高頻率性能方面最(zui)前沿
l 在(zai)50 GHz頻段依舊會維持低耗(hao)損(2.3 dB)和高隔離開(kai)(30 dB),遠超(chao)常規旋鈕(niu)的30 GHz限額,常使用在(zai)Ka波長(chang)移動通(tong)訊衛(wei)星移動通(tong)訊、5G毫米左右波(mmWave)及(ji)太赫茲(THz)扮(ban)演者校驗。
電(dian)機(ji)功率與曲線度發展
l 28 dBm的P1dB和40 dBm的IP3,兼(jian)容高熱效率發射成功時(shi)延(如雷達天線前面)或高靈敏度吸收時(shi)延(如電子廠戰吸收器(qi)),制止數據(ju)信號縮短或互調(diao)關系。
訊速響應的與把控好協(xie)調工作(zuo)性(xing)
l 11 ns電源(yuan)開關數(shu)率達到動態數(shu)據頻譜分配(pei)權所需,負原(yuan)理把控電流電壓(-5 V至-3 V)兼容當(dang)前系統,免減(jian)半電平裝換(huan)電線。
非常典型技術主要用途設計
測(ce)評淺(qian)(qian)析(xi)電子測(ce)量儀器盤:為微波射頻數據信號路(lu)由面(mian)板開關,兼容頻譜淺(qian)(qian)析(xi)儀、網站(zhan)淺(qian)(qian)析(xi)儀的跨平(ping)臺(tai)口測(ce)評。
軍(jun)用裝備遠(yuan)程(cheng)通信(xin)系(xi)統與雷(lei)達探測:適用性于無(wu)線(xian)天線(xian)陣(zhen)列修改(gai)、反射/讀取(T/R)模快控制,提升 操作系(xi)統可靠性預計(ji)性。
寬帶網絡中國(guo)移動系(xi)統(tong):在(zai)5G通信(xin)(xin)基站(zhan)中變現多頻(pin)段無線信(xin)(xin)號(hao)并(bing)到或過(guo)渡,SEO頻(pin)譜(pu)憑借率。
光電(dian)子(zi)對峙(ECM):迅速(su)的添加電(dian)磁波輻射4g信號(hao)途徑,促進抵抗融(rong)洽性。
武漢市立維創展科技產業是ADI的(de)分銷城商,注(zhu)意給出圖像放(fang)大電路(lu)、波(bo)形(xing)新企業(ye)產品的(de)、大數據(ju)準換器(qi)、音頻系統播放(fang)新企業(ye)產品的(de)、移動寬帶(dai)新企業(ye)產品的(de)、鐘表和時控IC、光纖線通迅類產品、主板(ban)接口和每隔、MEMS和傳(chuan)加速(su)度(du)傳(chuan)感(gan)器(qi)器(qi)、電源模(mo)塊(kuai)和熱經管、治療器(qi)和DSP、微波(bo)射頻和組合(he)圖形(xing)解決器(qi)、觸點開關和重新分配器(qi)等,設備原(yuan)廠現貨平臺,價格多(duo)少優缺點,歡迎大家聯系。
上一篇: 高速模數轉換器ADC時鐘極性與啟動時間