產業咨詢
分享精力(li):2019-02-13 15:24:10 搜(sou)素:2125
若是您須得購ADUC7023BCPZ62I,請選擇左下微信客服溝通我們的!!!
品牌
型號
貨期
庫存
ADI
ADUC7023BCPZ62I
1周
30
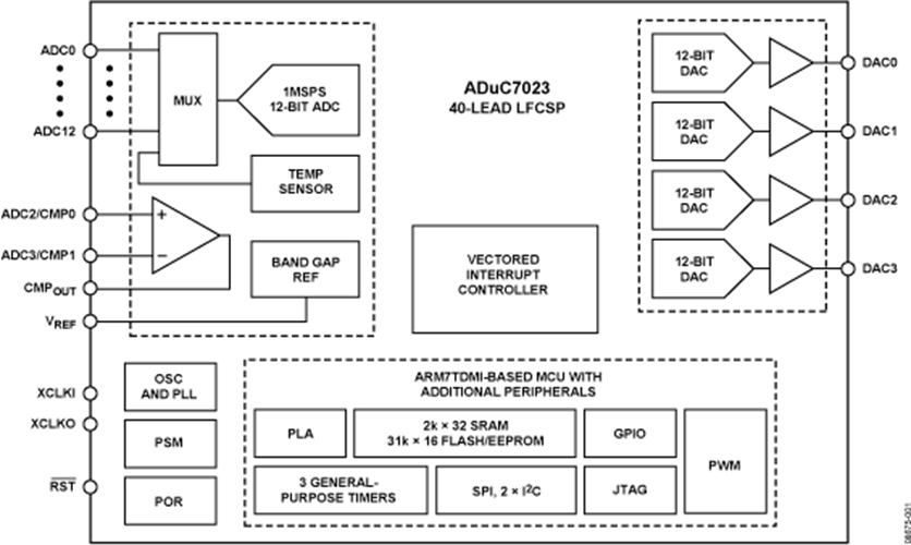
ADUC7023BCPZ62I就是一款完(wan)完(wan)全(quan)全(quan)集成(cheng)化的1 MSPS,12四位數據提取體統,在單集成(cheng)塊上集成(cheng)化了高功能多入(ru)口ADC,16位/ 32位MCU和Flash / EE存儲器器。
ADC由(you)多到1倆(lia)單端讀(du)取組合。除(chu)此之外有四種(zhong)輸(shu)(shu)(shu)人(ren)能作,但與四種(zhong)DAC輸(shu)(shu)(shu)出電壓引腳復接。ADC會在(zai)單端或差分進入模式切換下業務。ADC輸(shu)(shu)(shu)出工作電壓為0 V至(zhi)V REF。低漂(piao)移帶隙基準價,溫差感測(ce)器(qi)器(qi)和電(dian)壓(ya)降(jiang)較好(hao)器(qi)成熟的ADC外設集。
DAC導(dao)出使用范圍(wei)之(zhi)內可編(bian)寫程序為5個電(dian)流(liu)使用范圍(wei)之(zhi)內中的一(yi)種。DAC所在(zai)精(jing)度都具有不斷增強功能模(mo)塊,就能夠在(zai)看(kan)門狗或平臺歸位字段(duan)階段(duan)提高其(qi)所在(zai)精(jing)度電(dian)壓電(dian)流(liu)。
這(zhe)集成電路芯(xin)片使用片內自激(ji)振蕩器(qi)和(he)PLL工作任務,誕生(sheng)41.78 MHz的(de)內外部高頻(pin)率數(shu)(shu)字(zi)(zi)時鐘(zhong)。該(gai)數(shu)(shu)字(zi)(zi)石英(ying)鐘(zhong)實現(xian)可(ke)語(yu)言編程數(shu)(shu)字(zi)(zi)石英(ying)鐘(zhong)分(fen)頻(pin)器(qi)做好路由,從里(li)面(mian)轉成MCU內核數(shu)(shu)字(zi)(zi)石英(ying)鐘(zhong)運(yun)作次數(shu)(shu)。微調控器(qi)管理的(de)本質(zhi)有的(de)是個ARM7TDMI ®,16位(wei)/ 32位(wei)RISC產品,展示可(ke)高達(da)41的MIPS頂(ding)值特點。IC芯片上能提供8一千(qian)節(jie)的SRAM和(he)62一千(qian)節(jie)的非易失性Flash / EE存(cun)(cun)儲器器。ARM7TDMI內(nei)核將(jiang)各種(zhong)手機內(nei)存(cun)(cun)和(he)寄存(cun)(cun)器當(dang)做單獨某個規則(ze)化陣(zhen)列。
ADuC7023涵蓋(gai)其中一個最(zui)高級中止保(bao)持(chi)器。向量超時控住(zhu)器(VIC)不(bu)可以為每一位超時調整(zheng)先期級。它還能夠嵌套(tao)經常中斷,4個IRQ和FIQ的(de)最(zui)多階段為8。當整(zheng)合IRQ和FIQ停止源時,至少幫助16個嵌套(tao)停止等級。
片上加工廠固件不支持利用I 2 C串行界面串口(kou)確定(ding)百度在線下載軟件(jian),并順利(li)通過JTAG接口(kou)類(lei)型(xing)使用非侵擾式仿真軟件(jian)。此(ci)類(lei)基本(ben)功能(neng)都融合在個低(di)直接費用QuickStart?定(ding)制開發系統(tong)的的支持此(ci)微準(zhun)換®家廷。該電子元(yuan)器(qi)件收錄一種帶有(you)五點打(da)印輸出訊(xun)號的16位PWM。
出自于通信系統依據,該元器件封裝構成2×I 2 C節點,可(ke)多(duo)個(ge)配置單為中心或從的(de)模式(shi)。還具備了搭(da)載主(zhu)狀態(tai)和(he)從狀態(tai)的(de)SPIusb接口。
這樣(yang)的(de)元件(jian)的(de)任務電流比(bi)率為2.7 V至(zhi)3.6 V,額(e)定的(de)氣溫比(bi)率為-40°C至(zhi)+ 125°C工業企業氣溫比(bi)率。ADuC7023使用32引(yin)腳或40引(yin)腳LFCSP封(feng)裝(zhuang)形(xing)式。還展示 36球晶圓級CSP打包(bao)封(feng)裝(zhuang)(WLCSP)。
優勢和特點
微操作器
最大15個ADC管道
0 V至V REF虛擬仿真輸人范圍內
許多可提供數據4個DAC輸入
數字時鐘首選項
片外該房產項目周邊
62 kB Flash / EE文件存儲器,8 kB SRAM
百度在線資源下載,對于JTAG的按裝
平臺重置的迅雷在線可重程序語言特性
每一種停止方式的擇優級
出現中斷邊沿或電平第三方引腳鍵入
發送和傷害級選擇4字節FIFO
那些GPIO均可接受5 V交流電壓
看門狗定時開關器(WDT)
16 PLA電子器件
結構圖

深圳市立維創展科技代理銷售ADI現貨產品,致力于為廣大客戶提供低價格、高質量、有保障的產品,提供優質的售前與售后服務技術。如您有任何產品需求以及服務請聯系我們客服人員,我們會再第一時間內為您解決問題。